連接件模型
Connector Model
Connector Model
聯系APAS / Contact us
- 地址:天津市西青經濟技術開發區賽達國際工業城A3-2.
- 郵箱:lxc@apas.com.cn
- 電話:022-87920088
- 傳真:請聯系網絡管理員
- 郵編:300385
- 咨詢熱線:13702119190(24小時服務熱線)
連接件模型
/ Connector Model

45系列鋁型材T型螺母3d(數模)模型
產品描述 / Name
T型螺母屬于鋁型材框架最為常用的緊固連接配件產品,可以下載45系列鋁型材T型螺母進行工業框架結構的設計組裝,適用于高承載框架結構;
022-87920099
可以根據需求進行設計加工,提供上門安裝服務;可以根據特殊需求進行鋁型材開模定制。
* 免費提供工業鋁型材選型手冊 →點擊咨詢
內容來源:http://www.qdhlwj.com.cn 作者:武將 發布日期:2020年03月23日 10時58分 閱讀次數:2749 次
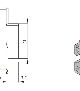
| 45系列鋁型材T型螺母只能應用于槽10規格鋁型材,安裝時可以將T型螺母直接置入型材槽內,在與螺栓配合鎖緊的同時會自動定位,不需要預先安裝,應用起來非常便捷; |
![]() ![]()
|
| 45系列鋁型材T型螺母分為三種規格,主要適用于與不同規格T型螺母配合使用,三種不同規格T型螺母區別在于螺栓中心孔不同,分為M5、M6和M8三種,適用于不同螺紋規格的T型螺栓; |
|
槽型
|
螺紋
|
材質
|
訂貨編號
|
|
槽10
|
M5
|
碳鋼(鍍鋅或鍍鎳)
|
CE-TN5-10-45
|
|
槽10
|
M6
|
碳鋼(鍍鋅或鍍鎳)
|
CE-TN6-10-45
|
|
槽10
|
M8
|
碳鋼(鍍鋅或鍍鎳)
|
CE-TN8-10-45
|
聯系APAS/ Contact us
天津艾普斯工業鋁型材股份有限公司
聯系電話:022-87920088
企業傳真:(避免惡意廣告)請聯系該企業網絡管理員
服務熱線:13702119190 (24小時服務熱線)
Q Q:534973906
企業郵箱: lxc@apas.com.cn
企業地址:天津市西青經濟技術開發區賽達國際工業城A3-2
聯系電話:022-87920088
企業傳真:(避免惡意廣告)請聯系該企業網絡管理員
服務熱線:13702119190 (24小時服務熱線)
Q Q:534973906
企業郵箱: lxc@apas.com.cn
企業地址:天津市西青經濟技術開發區賽達國際工業城A3-2
采購意向留言:* 為必填










-04車間工作臺主圖.jpg)



QQ咨詢
電話聯系
聯系電話

在線留言
樣冊下載
